水分关键期干旱胁迫对冬小麦矿质元素积累、产量和品质的影响 |
| 张继波, 薛晓萍, 张新刚, 邱粲, 谭方颖, 李楠 |
|
Effects of drought stress on mineral element accumulation, yield and grain quality of winter wheat during water critical period |
| ZHANG Jibo, XUE Xiaoping, ZHANG Xingang, QIU Can, TAN Fangying, LI Nan |
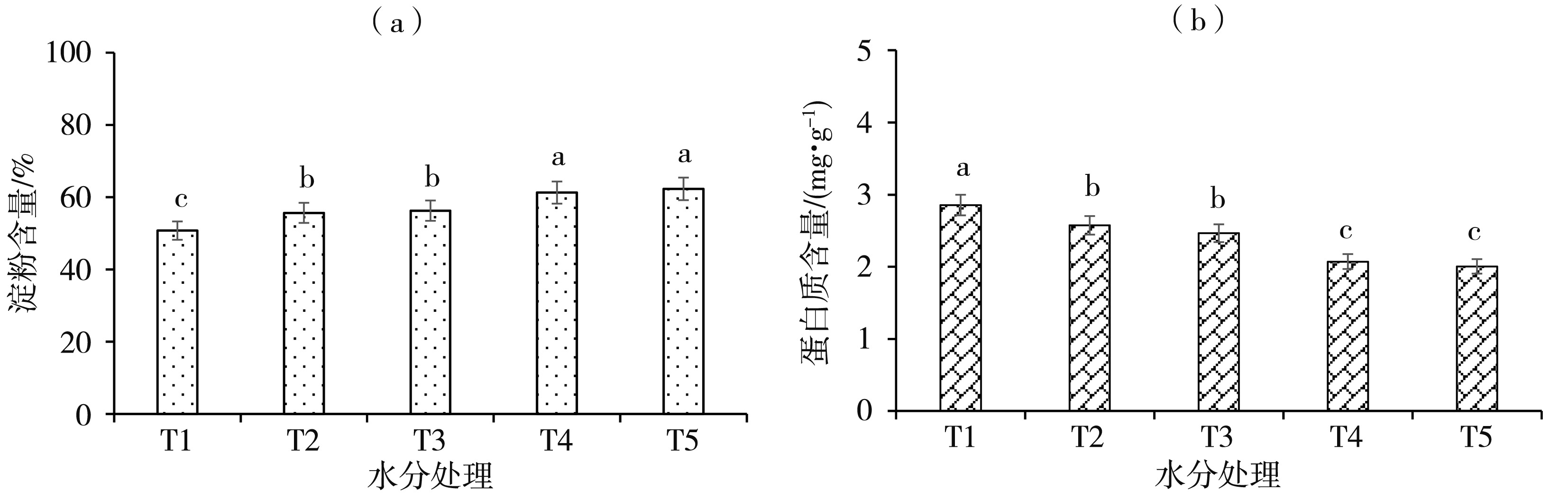
| 图7 不同水分处理下冬小麦籽粒淀粉含量(a)和蛋白质含量(b)变化 |
| Fig.7 Changes of starch content (a) and protein content (b) of winter wheat grain under different water treatments |
|